L’usinage consiste à fabriquer une pièce à partir d’un bloc de matière plastique ou métallique. Grâce aux techniques de tournage, fraisage, ou encore d'électro-érosion, la matière est retirée jusqu’à obtention de la pièce. C’est une méthode de fabrication dite soustractive.
L'usinage permet de réaliser des pièces de haute précision dans un grand choix de matières. Il est adapté pour la fabrication à la fois de prototypes, de petites ou grandes séries.
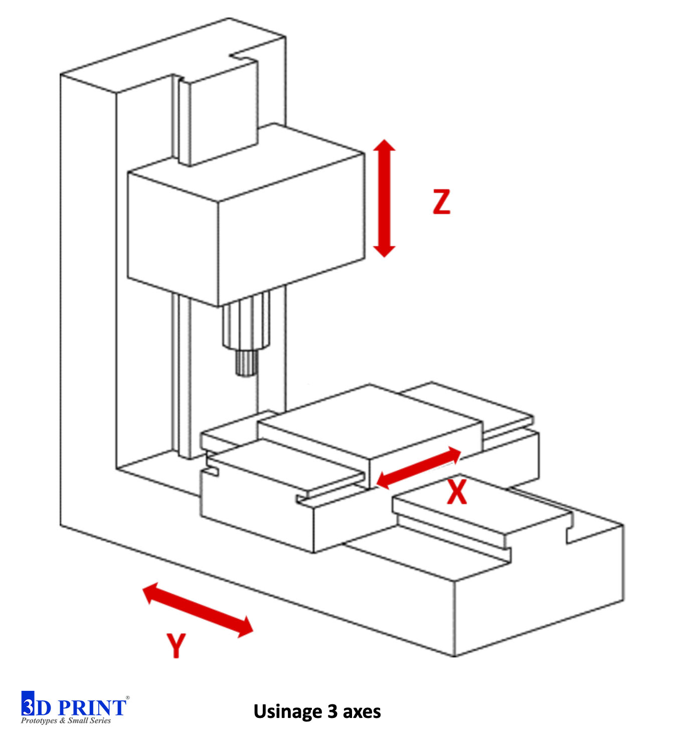
L'usinage 3 axes
- L’usinage 3 axes mets en jeu des machines-outils classiques comme la fraiseuse qui permet un travail de la matière sur 3 axes (X,Y et Z).
- Un bloc de matière est positionné, fixé sur le plateau.
- Un opérateur réalise le programme de fabrication à l’aide d’un logiciel 3D, celui-ci défini le parcours de la fraise pour l’enlèvement de matière. Un changement d’outil est souvent nécessaire.
- L’enlèvement de matière se fait suivant les trois directions de base correspondants aux axes d’une surface plane.
- Ces machines outils sont utilisées principalement pour l’usinage de pièces peu profondes. Les limites de ces machines s’observent durant l’usinage de pièces profondes avec des cavités étroites car difficile d'accès.
- Deux types de fraiseuses existent, les fraiseuses à Broche Horizontales et à Broche Verticales. Dans les deux cas la fraise reste perpendiculaire à la table, c’est donc l’orientation de la table qui sera différente sur ces deux machines.
- La Broche assure le mouvement de rotation de l’outil de coupe (fraise).
- La fraiseuse Horizontale permet néanmoins une meilleure évacuation des copeaux et du liquide de lubrification.
Spécifications techniques
|
Dureté & Résistance Grand choix de matières non souple |
|
Précision Iso 2768 fk / mk selon la matière |
|
Quantité 1-X pièce(s) |
|
Choix matière - Plastiques ABS Alimentaire - Tecaran ; ABS Tecaran ABS HDPE Tecafine PE ; PA6+GF30 - Tecamid 6 GF30 PA66 GF30 - Tecamid 66/X GF ; PC - Tecanat PEEK - Tecapeek PEI - Tecapei GF 30 ; PEI - Tecapei PET - Tecadur ; PMMA - Tecacryl POM C - Tecaform AH ; POM H - Tecaform AD PP - Tecafine ; PTFE - Tecaflon ; PVC-tecavinyl POM C - Ertacetal C ; POM H - Ertacetal-H ; PSU 1000 |
|
Choix matière - Métaux Aluminium : 2017 / 2024 / 6061 / 7075 etc. Laiton ; Cuivre ; Bronze ; Magnésium Zamak : 3 & 5 ; INOX : 304L / 316L / 17-4PH etc. Acier : STUB / S235JR / E335 etc. Titane : Ti6AlV6 Chrome-Cobalt ; Maraging ; Inconel |
|
|
Aspect & finition Traitements possibles : Anodisation, brunissage… Finitions possibles : polissage, brossage, marquage laser, gravure… Haut niveau de finition transparent sur PMMA et Polycarbonate |
|
Géométrie Adapter le design à l’usinabilité |
|
Dimensions Toutes tailles selon design |
|
Aide au design Téléchargez notre document d'aide au design pour l'usinage 3 axes |
|
Délais 2 à 3 semaines |
|
Tarifs € € € € € |
L'usinage 4 axes
- Les fraiseuses 4 axes sont généralement des fraiseuses 3 axes à broche horizontale comportant un plateau tournant parallèle à l’axe X ou Y de la machine (parallèle à l’axe X dans le schéma).
- Un bloc de matière est positionné, fixé sur le plateau.
- Un opérateur réalise le programme de fabrication à l’aide d’un logiciel 3D, celui-ci défini le parcours de la fraise pour l’enlèvement de matière. Un changement d’outil est souvent nécessaire.
- L’enlèvement de matière se fait suivant les 4 directions correspondants aux axes nécessaires.
- Deux modes existent sur les machines 4 axes, le mode indexation et le mode continu.
- Quand la machine est en mode indexation, la broche avec la fraise est désactivée pendant la rotation du plateau. Le plateau va donc tourner puis une fois que la rotation est terminée l’usinage reprend.
- En mode continu l’outil de coupe continu de travailler pendant la rotation du plateau. Cela permet d’usiner des objets cylindriques, des torsades, etc.
- Cette configuration est très utilisée en production industrielle mécanique notamment notamment dans l'automobile, l'aéronautique…
Spécifications techniques
|
Dureté & Résistance Grand choix de matières non souple |
|
Précision Iso 2768 fk / mk selon la matière |
|
Quantité 1-X pièce(s) |
|
Choix matière - Plastiques ABS Alimentaire - Tecaran ; ABS Tecaran ABS HDPE Tecafine PE ; PA6+GF30 - Tecamid 6 GF30 PA66 GF30 - Tecamid 66/X GF ; PC - Tecanat PEEK - Tecapeek PEI - Tecapei GF 30 ; PEI - Tecapei PET - Tecadur ; PMMA - Tecacryl POM C - Tecaform AH ; POM H - Tecaform AD PP - Tecafine ; PTFE - Tecaflon ; PVC-tecavinyl POM C - Ertacetal C ; POM H - Ertacetal-H ; PSU 1000 |
|
Choix matière - Métaux Aluminium : 2017 / 2024 / 6061 / 7075 etc. Laiton ; Cuivre ; Bronze ; Magnésium Zamak : 3 & 5 ; INOX : 304L / 316L / 17-4PH etc. Acier : STUB / S235JR / E335 etc. Titane : Ti6AlV6 Chrome-Cobalt ; Maraging ; Inconel |
|
|
Aspect & finition Traitements possibles : Anodisation, brunissage… Finitions possibles : polissage, brossage, marquage laser, gravure… Haut niveau de finition transparent sur PMMA et Polycarbonate |
|
Géométrie Adapter le design à l’usinabilité |
|
Dimensions Toutes tailles selon design |
|
Aide au design Téléchargez notre document aide au design pour l'usinage 3 axes |
|
Délais 2 à 3 semaines |
|
Tarifs € € € € € |
L'usinage 5 axes
- L’usinage 5 axes utilise un/des outil(s) qui se déplace dans cinq directions différentes qui correspondent aux 3 axes linéaires X,Y et Z plus deux axes A et B autour desquels tourne l’outil. Il est donc possible de travailler la pièce dans toutes les directions, en une opération.
- Un bloc de matière est positionné, fixé sur le plateau.
- Un opérateur réalise le programme de fabrication à l’aide d’un logiciel 3D qui définit le parcours de la fraise pour l’enlèvement de matière. Les changements d’outils sont souvent automatisés.
- L’enlèvement de matière se fait suivant les 5 directions correspondantes aux axes nécessaires.
- Le gain de mobilité grâce aux axes permet l’utilisation d’outils d’usinage plus courts ce qui améliore grandement le niveau de précision en comparaison d'une machine 3 axes par exemple.
- Cette technique est parfaitement adaptée aux pièces profondes et aux matériaux durs. La vitesse d’usinage s’en trouve également augmentée et les vibrations d’outils réduites améliorant ainsi la précision.
- Il y a donc un gain de temps d’usinage en comparaison à une machine 3 axes. Cependant les préparatifs de la machine sont plus longs en raison de l’enchainement des différentes opérations.
- Le développement des machines à commandes numériques, permettant un travail assisté par ordinateur, offre la possibilité d’automatiser partiellement ou totalement la procédure en plus de travailler plus efficacement un multitude de matière.
Spécifications techniques
|
Dureté & Résistance Grand choix de matières non souple |
|
Précision Iso 2768 fk / mk selon la matière |
|
Quantité 1-X pièce(s) |
|
Choix matière - Plastiques ABS Alimentaire - Tecaran ; ABS Tecaran ABS HDPE Tecafine PE ; PA6+GF30 - Tecamid 6 GF30 PA66 GF30 - Tecamid 66/X GF ; PC - Tecanat PEEK - Tecapeek PEI - Tecapei GF 30 ; PEI - Tecapei PET - Tecadur ; PMMA - Tecacryl POM C - Tecaform AH ; POM H - Tecaform AD PP - Tecafine ; PTFE - Tecaflon ; PVC-tecavinyl POM C - Ertacetal C ; POM H - Ertacetal-H ; PSU 1000 |
|
Choix matière - Métaux Aluminium : 2017 / 2024 / 6061 / 7075 etc. Laiton ; Cuivre ; Bronze ; Magnésium Zamak : 3 & 5 ; INOX : 304L / 316L / 17-4PH etc. Acier : STUB / S235JR / E335 etc. Titane : Ti6AlV6 Chrome-Cobalt ; Maraging ; Inconel |
|
|
Aspect & finition Traitements possibles : Anodisation, brunissage… Finitions possibles : polissage, brossage, marquage laser, gravure… Haut niveau de finition transparent sur PMMA et Polycarbonate |
|
Géométrie Idéale pour les pièces complexes |
|
Dimensions Toutes tailles selon design |
|
Aide au design Téléchargez notre document aide au design pour l'usinage 5 axes |
|
Délais 2 à 4 semaines |
|
Tarifs € € € € € |







